Александр Нерсесян, 4L1FP
г.Тбилиси
E-mail: 4l1fp@mail.ru
Прибор представляет собой детектор электромагнитного поля, работающий в диапазоне 5…300 МГц, который в отличие от стандартного стрелочного прототипа оборудован системой сигнализации уровня измеряемого излучения. Детектор компактен и надежен в эксплуатации.
Основные технические характеристики:
Напряжение питания, В ———————9
Потребляемый ток, мА —————-18…30
Диапазон рабочих частот, МГц ——-5…300
Обычно детекторы электромагнитного поля, схемы которых опубликованы в различных изданиях, имеют ряд недостатков, а именно: неудовлетворительную чувствительность и использование габаритного стрелочного прибора для индикации уровня излучения в измеряемой точке пространства.
Предложенная вашему вниманию разработка поможет изготовить простой и надежный прибор. Благодаря использованию современной элементной базы и оригинальных схемотических решений, устройство удалось спроектировать максимально компактным и сделать его удобным для самостоятельного изготовления и дальнейшей эксплуатации.
Этот прибор можно с успехом применять при ремонте различных радиотехнических и электронных устройств, например, для контроля высокочастотного излучения радио и сотовых телефонов.
Кроме того, с помощью прибора можно дистанционно контролировать излучение импульсных источников питания, а также строчных разверток телевизоров и мониторов (что бывает необходимо в ремонтной практике). В связи с этим можно отметить, что прибор имеет широкий диапазон рабочих частот, который приблизительно равен 0,1…900 МГц. Причем, в диапазонах 0,1…5 МГц и 300…900 МГц чувствительность прибора несколько ниже, но и этого достаточно, чтобы контролировать излучение устройств, частотный диапазон которого выходит за рамки 5…300 МГц (паспортные данные).

Описание работы
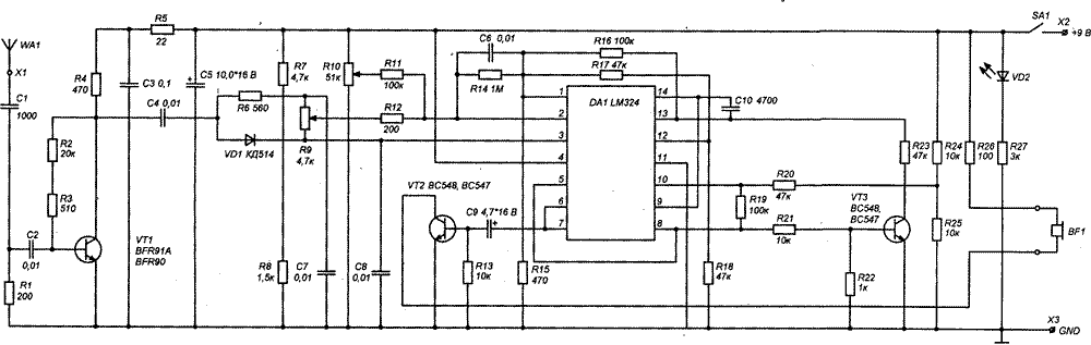
Принципиальная схема детектора показана на рис.1.
Детектор состоит из следующих узлов:
-усилителя ВЧ (на транзисторе VT1);
-ВЧ детектора (на диоде Шоттки VD1);
-компаратора (в составе микро схемы DA1);
-перестраиваемого НЧ генерато ра прямоугольных импульсов (эле менты 3, 4, 5 в составе микросхемы DA1, а также транзистор VT3);
-усилителя НЧ (транзистор VT2).
Уровень сигнала, подаваемого на компаратор с детектора, регулируется подстроечным резистором R9. Порог срабатывания компаратора изменяется переменным резистором R10, который регулирует частоту генератора НЧ. Индикация работы устройства осуществляется светодиодом VD2.
К контакту Х1 прибора подключается телескопическая антенна, к контактам Х2 и Х5 — источник питания 9 В, а к контактам ХЗ и Х4 — головные телефоны через соответствующий ра-зьем. Головные телефоны могут использоваться любого типа с внутренним сопротивлением не менее 30 Ом. При необходимости громкость звука в телефонах можно изменять подбором резистора R26 (увеличение сопротивления приводит к уменьшению громкости).
Эксплуатация
ВНИМАНИЕ! Во время работы с прибором нужно выключить все источники электромагнитного излучения: люминесцентные лампы, компьютеры, радио- и мобильные телефоны, кроме проверяемого аппарата.
Перед включением прибора не обходимо установить движок подстроечного резистора R9 в верхнее (по схеме) положение. В этом случае обеспечивается режим макси мальной чувствительности прибора. После этого включают сам прибор. Затем, вращая переменный резистор R9, устанавливают такой порог срабатывания компаратора, при котором генератор НЧ находится на границе возбуждения или в телефонах слышен звук низкого тона. Последнюю операцию необходимо производить в точке пространства, где электромагнитное излучение заведомо отсутствует. При приближении антенны к источнику сигнала частота тона будет увеличиваться, а при отдалении, соответственно, уменьшаться. При высоком уровне внешнего электромагнитного поля, возможно, понадобится дополнительная регулировка чувствительности детектора резистором R9.
РЛ 1/06 ст.30
www.radioliga.com
