В.Сажин,
Орловская обл., г.Ливны
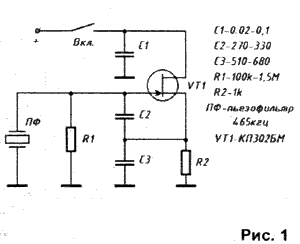
Чтобы принимать CW и SSB сигналы любительских станций на любой вещательный приемник с промежуточной частотой 465 кГц достаточно собрать простой гетеродин (генератор), не требующий настройки, некритичный к номиналам деталей и напряжению питания по схеме, приведенной на рис.1.

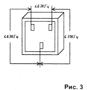
На рис.3 показано, какая частота будет на выходе генератора в зависимости от того, какими двумя выводами будет впаян пьезофильтр в схему.

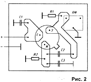
Частота 463 кГц предпочтительна для приема на НЧ, а 467 кГц — на ВЧ любительских диапазонах. Генератор монтируют на плате (рис.2), располагают внутри корпуса радиоприемника в удобном месте и включают дополнительно установленным для этого тумблером. В схеме использован пьезофильтр на 465 кГц от карманных приемников размером 7,5×7,2×8,5 мм.

Генератор устойчиво работает при напряжении питания 4…15 В.
Потребляемый ток — 1,0…2,5 мА.
РЛ 10/01 ст.27
www.radioliga.com
